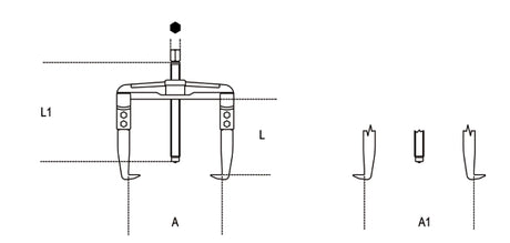
1500/2-UNIVERSAL PULLERS - L100 LEG
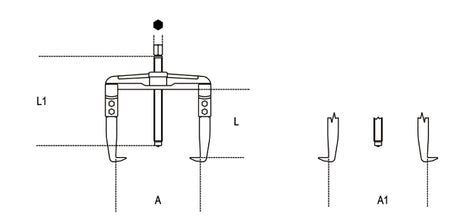
Regular price $234.57 AUDUnit price /Unavailable1500/1-UNIVERSAL PULLERS - L100 LEG
Regular price $221.43 AUDUnit price /Unavailable1500N/SPV-EMPTY DISPLAY FOR 1500N/SP6
Regular price $291.50 AUDUnit price /Unavailable- Regular price $226.07 AUDUnit price /Unavailable